Availability: | |
---|---|
8-98130508-0
Henshine
98130508
New, Original quality
8-98130-508-0
8-981**-0, 294200*06*
12 Months
Iron and plastic
3-15 days
Yellow and Sillver
NEW/ Original Quality
Isuzu/ Hitachi/ Hino/ Nissan/ John Deere
/
SCV Conventional
N/A
Netural, Henshine & OEM
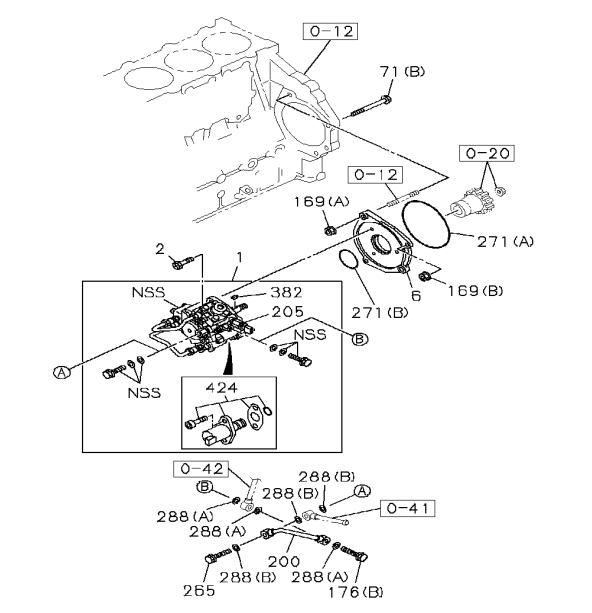
Figure 1 Cutaway of ISUZU 6HK1 XYGD01 PUMP ASM INJ contains OVERHAUL KIT SUPPLEY PUMP 8-98130-508-0
(Courtesy of Ningbo Henshine Precision Machinery Co., Ltd)
KEY No. | Part no. | qty | Part description | |||
1 | 8-98091-565-1 | 1 | PUMP ASM; INJ | |||
2 | 8-94399-256-0 | 3 | BOLT; INJ PUMP | |||
6 | 8-97601-154-1 | 1 | BRACKET; INJ PUMP TO C/BL | |||
71 (B) | 0-28151-200-0 | 1 | BOLT; BRKT | |||
169 (A) | 0-91180-110-0 | 2 | NUT; BRKT M10 FLANGE | |||
169 (B) | 0-91180-112-0 | 1 | NUT; BRKT M12 FLANGE | |||
176 (B) | 8-98011-269-0 | 1 | BOLT; EYE,FEED PUMP | |||
200 | 8-98008-791-0 | 1 | PIPE; FUEL FEED | |||
205 | 8-98023-581-0 | 1 | SENSOR; FUEL TEMP | |||
265 | 8-98074-955-0 | 1 | VALVE; FEED PUMP | |||
271 (A) | 1-09623-464-0 | 1 | GASKET; INJ PUMP ALSO INCLUDED IN GASKET SET(ENGINE) | |||
271 (B) | 8-98031-844-0 | 1 | GASKET; INJ PUMP ALSO INCLUDED IN GASKET SET(ENGINE) | |||
288 (A) | 1-09630-083-0 | 3 | GASKET ID=10.2 ALSO INCLUDED IN GASKET SET(ENGINE) | |||
288 (B) | 1-09630-085-0 | 3 | GASKET ID=14.2 ALSO INCLUDED IN GASKET SET(ENGINE) | |||
382 | 8-97375-384-0 | 1 | KEY; DRIVE SHAFT | |||
382 | 8-98161-995-0 | 1 | KEY; DRIVE SHAFT | |||
424 | 8-98130-508-0 | 1 | OVERHAUL KIT; SUPPLEY PUMP |
8-98130508-0 Suction Control Valve for Fuel Supply System Injection Pump used on ISUZU Made by Ningbo Henshine Precision Machinery
The Suction Control Valve 8-98130508-0 is generally installed at the inlet of the high-pressure fuel pump. It is a proportional solenoid valve, controlled by the electronic control unit (ECU), which can control the amount of oil entering the high-pressure fuel pump, thereby controlling the oil pressure in the common rail pipe. The good work of this component can not only ensure
that the vehicle can run normally but also enable the engine to run in the most fuel -- efficient state to achieve the effect of saving fuel.
2003-05-24
6HK1 XYGD01 1-87813-038-0
(Courtesy of Ningbo Henshine Precision Machinery Co., Ltd)
SUCTION CONTROL VALVE
8-98130508-0 SCV Valve 6HK1 XYGD01 424 Overhaul Kit, Suction| Ningbo Henshine Precision Machinery
+Diesel Common Rail System/Fuel Supply System
-Components of Fuel Injection Pump/ Supply Pump
-SCV Valve/Fuel Pressure Regulating Valve; Suction Control Valve
Ningbo Henshine Precision Machinery Co., Ltd
Detailed Photo:
Side View with Suction Control Valve 8-98130508-0 of ISUZU 6HK1 XYGD01
(Courtesy of Ningbo Henshine Precision Machinery Co., Ltd)
FIGURE 2 ISUZU SCV Valve 8-98130508-0 Fitting on 8-98091565-1
(Courtesy of Ningbo Henshine Precision Machinery Co., Ltd)
FIGURE 3 ISUZU SCV Overhaul Kit 8-98130508-0 Fitting on 8-98091565-1
(Courtesy of Ningbo Henshine Precision Machinery Co., Ltd)
Make: | ISUZU/Hitachi/Hyundai |
Model: | Hyundai HD120 HD170 HD500 D6GA |
Submodel: | / |
Engine Type: | / |
Engine Family: | 6HK1 XYGD01 1-87813-038-0 |
Engine Size: | / |
Fuel Type: | Diesel |
Regulator Usage: | Supply Pump Repairing |
Replaces OEM Part Number (application): | Instead of Denso 294200-0670 |
A fuel pressure regulator, also named a suction control valve, or SCV valve, helps maintain the fuel pressure in the Fuel Injection System. If the fuel injection system needs more fuel pressure, the fuel pressure regulator releases more fuel to go to the engine. This is vital because that is how the fuel gets to the injectors. Blocking the pass-through to the fuel tank off completely, the fuel pump will try to force too much fuel into the injectors which will cause them to fail and you will end up needing another auto repair service.
As you could see, the pressure regulator plays a critical role in the common rail diesel injection system.
A good factory, a good supplier with stable quality, and follows IATF16949 rules strictly.
After being tested by many of our customers in Europe and the Americas, this pressure regulator is a good replacement for OE diesel parts, like 8-98130508-0 Diesel Metering Valve.
Ningbo Henshine Precision Machinery Co., Ltd>>>About Us
7# Bangxing Road, Maoshan Industrial Park,
Jiangshan Town,Ningbo,China
Condition: Brand NEW
Manufacturer Part Number: 8-98030508-0
Other Numbers: ISUZU 8-98***1-0, 8-9****8-0
Brand: HENSHINE
Material: Plastic, Iron
Delivery time: 1-3days/ 7-12days
Colour: Silver & Yellow
Surface Finish: High Quality/ New
Placement on Vehicle: Isuzu/ Hitachi/ Hino/ Nissan/ John Deere
Pump: Denso OE 294009-0590, 294050-0030, 294050-0036, 22100-E0250 & etc
Original Number: 8-98030508-0, 8-98030-508-0, 8980305080, 98030508
Type: Suction Control Valve/ SCV
Packing: No 3/4 Natural Box & Henshine Box
Warranty: 1 year
Min Sample Order: 5 pcs
Production Capacity: 4300 pcs per month
Means of Transport: Ocean, Land, Air, Express
Payments: Visa, Mastercard, T/T, WesternUnion, Online Transfer, Cash on pickup
What Is a SCV? >> check here
The suction control valve (SCV) controls the fuel pressure in the common rail diesel engine. The use tolerance of SCVs is very small and will soon be affected by contaminated fuel and / or fouling.
When the valve is activated, the force of the electromagnet aids the spring, reducing the opening of the valve and so increasing fuel pressure. The valve also acts as a mechanical pressure damper, smoothing the high frequency pressure pulses emanating from the radial piston pump when less than three pistons are activated.
SCV 8-98030508-0 For Isuzu/ Hitachi/ Hino/ Nissan/ John Deere
Other Names for SCV:
Suction Control Valve
FCA
Injection Pressure Regulator
Fuel Pressure Regulator
Fuel Control Actuator
Measuring Unit
Fuel Measurement Solenoid Valve
Compatible Vehicles for 8-98030508-0:
ZW220
ZW220-HCMF
ZW250
ZX350K-3F
ZX350L-3
ZX350LC-3-HCME
ZX350LC-3F-HCME
ZX350LC-3FAMS
ZX350LC-5B
ZX350LCN-5B
ZX400LCH-3
ZX400W-3
An ECU operated suction control valve (SCV) or fuel metering control valve (FMCV) located on the back of the high-pressure supply pump is utilised for this purpose. which controls the output volume and pressure in the fuel rail.
Generally, the SCV is available as a replacement unit for a range of CRD supply pumps.
The supply pump only compresses the amount of fuel needed to maintain the rail pressure required.
This assists in reducing emissions by reducing engine operating load.
Reducing fuel flow during operation also results in lower fuel temperatures.
Common typical faults affecting SCV operation.
Excess wear, contaminated fuel or an electrical malfunction with the SCV or FMCV can create major driveability problems and possible no start condition.
Figure 1 Cutaway of ISUZU 6HK1 XYGD01 PUMP ASM INJ contains OVERHAUL KIT SUPPLEY PUMP 8-98130-508-0
(Courtesy of Ningbo Henshine Precision Machinery Co., Ltd)
KEY No. | Part no. | qty | Part description | |||
1 | 8-98091-565-1 | 1 | PUMP ASM; INJ | |||
2 | 8-94399-256-0 | 3 | BOLT; INJ PUMP | |||
6 | 8-97601-154-1 | 1 | BRACKET; INJ PUMP TO C/BL | |||
71 (B) | 0-28151-200-0 | 1 | BOLT; BRKT | |||
169 (A) | 0-91180-110-0 | 2 | NUT; BRKT M10 FLANGE | |||
169 (B) | 0-91180-112-0 | 1 | NUT; BRKT M12 FLANGE | |||
176 (B) | 8-98011-269-0 | 1 | BOLT; EYE,FEED PUMP | |||
200 | 8-98008-791-0 | 1 | PIPE; FUEL FEED | |||
205 | 8-98023-581-0 | 1 | SENSOR; FUEL TEMP | |||
265 | 8-98074-955-0 | 1 | VALVE; FEED PUMP | |||
271 (A) | 1-09623-464-0 | 1 | GASKET; INJ PUMP ALSO INCLUDED IN GASKET SET(ENGINE) | |||
271 (B) | 8-98031-844-0 | 1 | GASKET; INJ PUMP ALSO INCLUDED IN GASKET SET(ENGINE) | |||
288 (A) | 1-09630-083-0 | 3 | GASKET ID=10.2 ALSO INCLUDED IN GASKET SET(ENGINE) | |||
288 (B) | 1-09630-085-0 | 3 | GASKET ID=14.2 ALSO INCLUDED IN GASKET SET(ENGINE) | |||
382 | 8-97375-384-0 | 1 | KEY; DRIVE SHAFT | |||
382 | 8-98161-995-0 | 1 | KEY; DRIVE SHAFT | |||
424 | 8-98130-508-0 | 1 | OVERHAUL KIT; SUPPLEY PUMP |
8-98130508-0 Suction Control Valve for Fuel Supply System Injection Pump used on ISUZU Made by Ningbo Henshine Precision Machinery
The Suction Control Valve 8-98130508-0 is generally installed at the inlet of the high-pressure fuel pump. It is a proportional solenoid valve, controlled by the electronic control unit (ECU), which can control the amount of oil entering the high-pressure fuel pump, thereby controlling the oil pressure in the common rail pipe. The good work of this component can not only ensure
that the vehicle can run normally but also enable the engine to run in the most fuel -- efficient state to achieve the effect of saving fuel.
2003-05-24
6HK1 XYGD01 1-87813-038-0
(Courtesy of Ningbo Henshine Precision Machinery Co., Ltd)
SUCTION CONTROL VALVE
8-98130508-0 SCV Valve 6HK1 XYGD01 424 Overhaul Kit, Suction| Ningbo Henshine Precision Machinery
+Diesel Common Rail System/Fuel Supply System
-Components of Fuel Injection Pump/ Supply Pump
-SCV Valve/Fuel Pressure Regulating Valve; Suction Control Valve
Ningbo Henshine Precision Machinery Co., Ltd
Detailed Photo:
Side View with Suction Control Valve 8-98130508-0 of ISUZU 6HK1 XYGD01
(Courtesy of Ningbo Henshine Precision Machinery Co., Ltd)
FIGURE 2 ISUZU SCV Valve 8-98130508-0 Fitting on 8-98091565-1
(Courtesy of Ningbo Henshine Precision Machinery Co., Ltd)
FIGURE 3 ISUZU SCV Overhaul Kit 8-98130508-0 Fitting on 8-98091565-1
(Courtesy of Ningbo Henshine Precision Machinery Co., Ltd)
Make: | ISUZU/Hitachi/Hyundai |
Model: | Hyundai HD120 HD170 HD500 D6GA |
Submodel: | / |
Engine Type: | / |
Engine Family: | 6HK1 XYGD01 1-87813-038-0 |
Engine Size: | / |
Fuel Type: | Diesel |
Regulator Usage: | Supply Pump Repairing |
Replaces OEM Part Number (application): | Instead of Denso 294200-0670 |
A fuel pressure regulator, also named a suction control valve, or SCV valve, helps maintain the fuel pressure in the Fuel Injection System. If the fuel injection system needs more fuel pressure, the fuel pressure regulator releases more fuel to go to the engine. This is vital because that is how the fuel gets to the injectors. Blocking the pass-through to the fuel tank off completely, the fuel pump will try to force too much fuel into the injectors which will cause them to fail and you will end up needing another auto repair service.
As you could see, the pressure regulator plays a critical role in the common rail diesel injection system.
A good factory, a good supplier with stable quality, and follows IATF16949 rules strictly.
After being tested by many of our customers in Europe and the Americas, this pressure regulator is a good replacement for OE diesel parts, like 8-98130508-0 Diesel Metering Valve.
Ningbo Henshine Precision Machinery Co., Ltd>>>About Us
7# Bangxing Road, Maoshan Industrial Park,
Jiangshan Town,Ningbo,China
Condition: Brand NEW
Manufacturer Part Number: 8-98030508-0
Other Numbers: ISUZU 8-98***1-0, 8-9****8-0
Brand: HENSHINE
Material: Plastic, Iron
Delivery time: 1-3days/ 7-12days
Colour: Silver & Yellow
Surface Finish: High Quality/ New
Placement on Vehicle: Isuzu/ Hitachi/ Hino/ Nissan/ John Deere
Pump: Denso OE 294009-0590, 294050-0030, 294050-0036, 22100-E0250 & etc
Original Number: 8-98030508-0, 8-98030-508-0, 8980305080, 98030508
Type: Suction Control Valve/ SCV
Packing: No 3/4 Natural Box & Henshine Box
Warranty: 1 year
Min Sample Order: 5 pcs
Production Capacity: 4300 pcs per month
Means of Transport: Ocean, Land, Air, Express
Payments: Visa, Mastercard, T/T, WesternUnion, Online Transfer, Cash on pickup
What Is a SCV? >> check here
The suction control valve (SCV) controls the fuel pressure in the common rail diesel engine. The use tolerance of SCVs is very small and will soon be affected by contaminated fuel and / or fouling.
When the valve is activated, the force of the electromagnet aids the spring, reducing the opening of the valve and so increasing fuel pressure. The valve also acts as a mechanical pressure damper, smoothing the high frequency pressure pulses emanating from the radial piston pump when less than three pistons are activated.
SCV 8-98030508-0 For Isuzu/ Hitachi/ Hino/ Nissan/ John Deere
Other Names for SCV:
Suction Control Valve
FCA
Injection Pressure Regulator
Fuel Pressure Regulator
Fuel Control Actuator
Measuring Unit
Fuel Measurement Solenoid Valve
Compatible Vehicles for 8-98030508-0:
ZW220
ZW220-HCMF
ZW250
ZX350K-3F
ZX350L-3
ZX350LC-3-HCME
ZX350LC-3F-HCME
ZX350LC-3FAMS
ZX350LC-5B
ZX350LCN-5B
ZX400LCH-3
ZX400W-3
An ECU operated suction control valve (SCV) or fuel metering control valve (FMCV) located on the back of the high-pressure supply pump is utilised for this purpose. which controls the output volume and pressure in the fuel rail.
Generally, the SCV is available as a replacement unit for a range of CRD supply pumps.
The supply pump only compresses the amount of fuel needed to maintain the rail pressure required.
This assists in reducing emissions by reducing engine operating load.
Reducing fuel flow during operation also results in lower fuel temperatures.
Common typical faults affecting SCV operation.
Excess wear, contaminated fuel or an electrical malfunction with the SCV or FMCV can create major driveability problems and possible no start condition.